混流泵
聯系人:王經理
手 機:13463822299
傳 真:0312-3426585
廠 址:河北省保定市(shi)安國市(shi)石佛鎮石佛村(cun)紅星區41號








產品簡介及說明
ZJQ、NSQ型潛(qian)水式(shi)渣漿(jiang)(jiang)泵(beng)·吸(xi)(xi)沙泵(beng)是電機與(yu)水泵(beng)同軸(zhou)潛(qian)入(ru)介(jie)質中(zhong)工(gong)作(zuo)的(de)水力機械(xie),該(gai)泵(beng)過流部件采用高強耐磨(mo)合金(jin)、耐磨(mo)鑄(zhu)鐵、鑄(zhu)鋼(gang)等而成,根據客戶(hu)做業(ye)所(suo)排出的(de)液體(ti)來定過流部件材質,該(gai)泵(beng)過流通道(dao)大(da),適用于輸送(song)含(han)有較大(da)固體(ti)顆粒的(de)泥沙、礦漿(jiang)(jiang)、煤漿(jiang)(jiang)、砂石等介(jie)質,也可用于河道(dao)、清淤、糞(fen)便(bian)、漿(jiang)(jiang)飼料等吸(xi)(xi)送(song)、澆灑、還可用作(zuo)市政、化工(gong)印染、醫藥、造(zao)船(chuan)、食品(pin)等,以及抽吸(xi)(xi)高濃稠液、污(wu)塵液、糊(hu)狀體(ti)等,是潛(qian)污(wu)泵(beng)無法代替(ti)的(de)重要設備。
該系列(lie)產品吸收國內外先(xian)進(jin)技(ji)術設計(ji)制(zhi)造,水泵(beng)(beng)除主葉輪外在(zai)底部增加(jia)一套攪拌葉輪,能(neng)將沉積的(de)(de)(de)淤渣噴擊成湍流,使(shi)水泵(beng)(beng)在(zai)沒有(you)輔助裝置的(de)(de)(de)情況下實(shi)現高(gao)濃度輸送。獨特的(de)(de)(de)密封(feng)裝置能(neng)夠有(you)效平衡油室內外壓力,最大限度保護了機械密封(feng)的(de)(de)(de)可(ke)靠(kao)性,電機采用過熱保護、進(jin)水檢測保護等多(duo)種保護措施(shi),以(yi)及(ji)代替(ti)了各種立式(shi)水泵(beng)(beng)的(de)(de)(de)使(shi)用性和(he)可(ke)靠(kao)性和(he)泵(beng)(beng)的(de)(de)(de)使(shi)用壽命(ming)。能(neng)夠在(zai)惡(e)劣的(de)(de)(de)工(gong)況條件下長期安全的(de)(de)(de)運行。
適(shi)用于(yu)抽(chou)取建筑用沙、粉沙、淤泥、尾礦(kuang)漿、礦(kuang)砂(sha)(sha)、鐵砂(sha)(sha)礦(kuang)、河流、湖泊(bo)、水(shui)庫、港口等(deng)抽(chou)沙清淤工程,還可用于(yu)鋼鐵廠(chang)、發電(dian)廠(chang)、鐵礦(kuang)廠(chang)、油田等(deng)工礦(kuang)企業(ye)的沉淀池的沉砂(sha)(sha)清除,污水(shui)處理廠(chang)沉淀物等(deng)。
公司(si)從(cong)事(shi)水力抽沙、清淤(yu)設(she)備(bei)開(kai)發生產(chan)(chan),并且針對不(bu)同施工環境提(ti)供相應的立(li)、臥(wo)式的清淤(yu)沙泵(beng)的經驗,現已(yi)開(kai)發出(chu)潛(qian)水渣漿泵(beng)、吸沙泵(beng)。并始終堅持以人為本,科(ke)技創(chuang)新,不(bu)斷完善內(nei)部經營管理,提(ti)高產(chan)(chan)品質量,以優良獨(du)特的售后服(fu)務,良好的企業(ye)信譽,不(bu)斷滿足客戶的要求(qiu),以我(wo)們(men)的專業(ye)成就您的事(shi)業(ye)——是我(wo)們(men)永恒的追(zhui)求(qiu)!
一、結構說明
1、整機(ji)為干式(shi)水泵型,電機(ji)采用油室(shi)密(mi)封方式(shi),內設機(ji)械(xie)密(mi)封,能有效防止高壓水和(he)雜質進入電機(ji)內腔(qiang)。
2、除主(zhu)葉(xie)輪外(wai),還有攪拌副葉(xie)輪,能將沉淀于水底的淤渣攪拌成湍流(liu)后抽取(qu)出(chu)來。
3、葉輪和攪拌葉輪等過流部件采(cai)用(yong)高硬(ying)度(du)的高強(qiang)耐磨合金(jin)(C')、鑄鐵(M )、鑄鋼(G) ,排(pai)沙(sha)能力強(qiang),能排(pai)出較大的固體顆粒。
4、電機潛(qian)入水下,不受吸程限制,吸渣(zha)效(xiao)率(lv)高,清淤更徹底。
5、整體(ti)設備簡(jian)化,不(bu)許(xu)配備輔助攪拌裝(zhuang)置(zhi)或噴射裝(zhuang)置(zhi),操作簡(jian)便,機(ji)組總投資降低。
6、攪拌(ban)葉(xie)輪直接接近沉積(ji)面,通過下潛(qian)深度控制濃度。在介質比重大的情(qing)況下可以通過加裝輔助裝置,增加介質濃度。
二、使用條件
1、電(dian)源為50HZ/60HZ/380V/415V/660V/1140V三相(xiang)交流電(dian)源,配電(dian)變壓(ya)器的容(rong)量(liang)為2-3倍電(dian)機(ji)額定容(rong)量(liang)。
2、介質(zhi)溫(wen)度不(bu)得超過60,xSQ(R)型(xing)不(bu)超過140,不(bu)含易(yi)燃易(yi)爆(bao)性氣體。3、介質(zhi)中固(gu)體顆粒最大重(zhong)量(liang)濃度:灰渣(zha)(zha)為(wei)45%,礦渣(zha)(zha)為(wei)60%。
4、在內自流循環冷卻(que)系(xi)統(tong)的(de)泵,電機部分露出液面不超(chao)過1/2。5、機組(zu)潛(qian)水(shui)深度:不大于40米,最小潛(qian)水(shui)深度以淹沒電機為(wei)準。6、機組(zu)在介質中的(de)工(gong)作位置為(wei)立(li)式(shi),上部懸掛定位。
7、一般情況下,泵必(bi)須(xu)在使用(yong)揚程范圍內使用(yong),保證電機不(bu)過(guo)載,如需在全揚程范圍使用(yong),就(jiu)在訂貨時另行說(shuo)明,以便廠(chang)家制造。
三、優點
(一)與一般臥式泵(beng)相比,潛水式渣漿(jiang)泵(beng)·吸(xi)沙泵(beng)明顯具有以(yi)下(xia)幾個方面(mian)的(de)優(you)點(dian):. 1、結構緊湊、占(zhan)地(di)面(mian)積小。由于(yu)潛入(ru)液下(xia)工作,因此(ci)可直接安裝(zhuang)于(yu)污水排沙池內,無需建(jian)造專門的(de)泵(beng)房(fang)用來安裝(zhuang)泵(beng)及電機,可以(yi)節省(sheng)大量的(de)土(tu)地(di)及基建(jian)費用。
2、安(an)裝(zhuang)維修方便,自(zi)由安(an)裝(zhuang)。
3、連續運轉(zhuan)時間長(chang)。由于泵(beng)(beng)和(he)電機同軸(zhou)(zhou),軸(zhou)(zhou)短,轉(zhuan)動部件重量(liang)輕,因此軸(zhou)(zhou)承上承受的載(zai)荷(徑(jing)向(xiang))相對(dui)較小,壽命比(bi)一般泵(beng)(beng)長(chang)得(de)多。
4、不(bu)存在汽蝕破壞及灌引水(shui)等(deng)問題。特別是后一點給(gei)操(cao)作人員帶來(lai)了很(hen)大的(de)方便。正是由(you)于上述優點,已越(yue)來(lai)越(yue)受(shou)到(dao)(dao)人們的(de)重視,使用的(de)范圍也(ye)越(yue)來(lai)越(yue)廣,由(you)原來(lai)的(de)單(dan)純地用來(lai)輸送(song)高濃度泥沙到(dao)(dao)現在可以輸送(song)各種生活污水(shui)、工業(ye)廢水(shui)、建筑工地排水(shui)、液(ye)體飼料(liao)等(deng)等(deng)。在市政工程、工業(ye)、醫(yi)院、建筑、飯店(dian)、水(shui)利建設等(deng)各行各業(ye)中起著(zhu)十分重要的(de)作用。
(二)密封技術
所(suo)(suo)謂的(de)(de)(de)(de)副(fu)(fu)葉(xie)(xie)(xie)(xie)輪(lun)(lun)流(liu)體(ti)(ti)動力(li)(li)(li)密(mi)(mi)封(feng)(feng)(feng),是指在泵(beng)(beng)蓋背后安裝了一(yi)個(ge)與主葉(xie)(xie)(xie)(xie)輪(lun)(lun)轉(zhuan)向(xiang)相反(fan)的(de)(de)(de)(de)副(fu)(fu)葉(xie)(xie)(xie)(xie)輪(lun)(lun)。當泵(beng)(beng)工作(zuo)(zuo)時,副(fu)(fu)葉(xie)(xie)(xie)(xie)輪(lun)(lun)隨泵(beng)(beng)主軸(zhou)(zhou)一(yi)起(qi)(qi)旋轉(zhuan),副(fu)(fu)葉(xie)(xie)(xie)(xie)輪(lun)(lun)中(zhong)的(de)(de)(de)(de)液體(ti)(ti)也(ye)會(hui)一(yi)起(qi)(qi)旋轉(zhuan),轉(zhuan)動的(de)(de)(de)(de)液體(ti)(ti)會(hui)產生一(yi)個(ge)向(xiang)外的(de)(de)(de)(de)離心力(li)(li)(li),這個(ge)離心力(li)(li)(li)一(yi)方面頂住流(liu)向(xiang)機(ji)械密(mi)(mi)封(feng)(feng)(feng)處的(de)(de)(de)(de)液體(ti)(ti),降低了機(ji)械密(mi)(mi)封(feng)(feng)(feng)處的(de)(de)(de)(de)壓(ya)力(li)(li)(li)。另一(yi)方面阻止介質(zhi)中(zhong)的(de)(de)(de)(de)固體(ti)(ti)顆粒進入機(ji)械密(mi)(mi)封(feng)(feng)(feng)的(de)(de)(de)(de)磨(mo)(mo)擦,減(jian)少機(ji)械密(mi)(mi)封(feng)(feng)(feng)磨(mo)(mo)塊的(de)(de)(de)(de)磨(mo)(mo)損(sun),延長(chang)了使(shi)用(yong)(yong)(yong)壽(shou)(shou)命。副(fu)(fu)葉(xie)(xie)(xie)(xie)輪(lun)(lun)除(chu)了起(qi)(qi)到(dao)(dao)密(mi)(mi)封(feng)(feng)(feng)作(zuo)(zuo)用(yong)(yong)(yong)外,還可以起(qi)(qi)到(dao)(dao)降低軸(zhou)(zhou)向(xiang)力(li)(li)(li)的(de)(de)(de)(de)作(zuo)(zuo)用(yong)(yong)(yong),在此(ci)類泵(beng)(beng)中(zhong)軸(zhou)(zhou)向(xiang)力(li)(li)(li)主要是由(you)液體(ti)(ti)作(zuo)(zuo)用(yong)(yong)(yong)在葉(xie)(xie)(xie)(xie)輪(lun)(lun)上的(de)(de)(de)(de)壓(ya)差力(li)(li)(li)和(he)整個(ge)轉(zhuan)動部分(fen)的(de)(de)(de)(de)重力(li)(li)(li)所(suo)(suo)組成,這兩個(ge)力(li)(li)(li)的(de)(de)(de)(de)作(zuo)(zuo)用(yong)(yong)(yong)方向(xiang)是相同的(de)(de)(de)(de),合力(li)(li)(li)是由(you)兩個(ge)力(li)(li)(li)相加(jia)而成,可以看出(chu),在性能(neng)參數完全(quan)相同的(de)(de)(de)(de)情況下,此(ci)類泵(beng)(beng)的(de)(de)(de)(de)軸(zhou)(zhou)向(xiang)力(li)(li)(li)比一(yi)般(ban)(ban)臥式泵(beng)(beng)要大,而平衡難度(du)(du)比立式泵(beng)(beng)要難。所(suo)(suo)以在此(ci)類泵(beng)(beng)中(zhong),軸(zhou)(zhou)承(cheng)容÷易損(sun)壞,原因也(ye)是與軸(zhou)(zhou)向(xiang)力(li)(li)(li)有很大的(de)(de)(de)(de)關系。如果安裝了副(fu)(fu)葉(xie)(xie)(xie)(xie)輪(lun)(lun),副(fu)(fu)葉(xie)(xie)(xie)(xie)輪(lun)(lun)上壓(ya)差力(li)(li)(li)的(de)(de)(de)(de)方向(xiang)與上述兩力(li)(li)(li)的(de)(de)(de)(de)合力(li)(li)(li)相反(fan),這樣可以抵消一(yi)部分(fen)軸(zhou)(zhou)向(xiang)力(li)(li)(li),也(ye)就起(qi)(qi)到(dao)(dao)了延長(chang)軸(zhou)(zhou)承(cheng)壽(shou)(shou)命的(de)(de)(de)(de)作(zuo)(zuo)用(yong)(yong)(yong)。但是使(shi)用(yong)(yong)(yong)副(fu)(fu)葉(xie)(xie)(xie)(xie)輪(lun)(lun)密(mi)(mi)封(feng)(feng)(feng)系統也(ye)有一(yi)個(ge)缺點(dian),那(nei)就是在副(fu)(fu)葉(xie)(xie)(xie)(xie)輪(lun)(lun)上要消耗一(yi)部分(fen)能(neng)量(liang),一(yi)般(ban)(ban)在3%左右,介質(zhi)只(zhi)要設計合理,完全(quan)可以把這部分(fen)損(sun)失降低到(dao)(dao)最低限度(du)(du)。
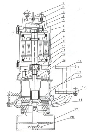
四、型號意義及安裝示意圖

五、產品結構說明
ZJQ、NSQ型潛(qian)水式渣漿泵·吸沙泵是由電機(ji)與泵兩部分組(zu)成,二者通過油隔(ge)離(li)室(shi)及機(ji)械密封(feng)組(zu)件隔(ge)開,屬機(ji)電一體化產品,電機(ji)與泵合用同一軸(轉子(zi))整個水泵長度短,結(jie)構(gou)緊湊。配備(bei)多種保(bao)護裝(zhuang)置(zhi),使(shi)得泵運(yun)行安全可靠。
采用(yong)Y系列國標電機,F級絕緣,運行(xing)安(an)全可(ke)靠。
采用(yong)雙道串(chuan)聯密封,選用(yong)新型合金材質(zhi),具有密封可(ke)靠、耐(nai)磨(mo),壽(shou)命(ming)長(chang)特點。過(guo)流部件采用(yong)高鉻渣漿泵(beng),材質(zhi)耐(nai)磨(mo),性能好,過(guo)流性能優異,是國(guo)內同類型泵(beng)壽(shou)命(ming)的2-10倍。

1、信號線(xian)(xian) 2、電機(ji)接(jie)線(xian)(xian) 3、接(jie)線(xian)(xian)盒(he) 4、電機(ji)蓋(gai) 5、軸(zhou)承(cheng) 6、上軸(zhou)座 7、電機(ji)殼 8、定子(zi) 9、軸(zhou)(轉(zhuan)子(zi)) 10、軸(zhou)承(cheng) 11、油水探頭 12、油室 13、機(ji)械密封(feng) 14、護板 15、出水管 16、支架 17、泵體 18、葉輪 19、底座濾(lv)網 20、絞刀
六、性能參數表
表(一)
| 產品型號 | 轉速(r/min) | 流量 ( m3/h ) | 揚程 ( m ) | 功率( Kw ) | 口徑(mm) | |
| 40 ZJQ/NSQ | 8-12-2.2 | 1450 | 8 | 12 | 2.2 | 40 |
| 10-21-5.5 | 10 | 21 | 5.5 | 40 | ||
| 15-12-3 | 15 | 12 | 3 | 40 | ||
| 18-19-5.5 | 18 | 19 | 5.5 | 40 | ||
| 23-10-3 | 23 | 10 | 3 | 40 | ||
| 25-17-5.5 | 25 | 17 | 5.5 | 40 | ||
| 50 ZJQ/NSQ | 12-6-3 | 1450 | 12 | 6 | 3 | 50 |
| 20-20-4 | 20 | 20 | 4 | 50 | ||
| 25-15-4 | 25 | 15 | 4 | 50 | ||
| 25-30-7.5 | 25 | 30 | 7.5 | 50 | ||
| 30-16-5.5 | 30 | 16 | 5.5 | 50 | ||
| 35-6-4 | 35 | 6 | 4 | 50 | ||
| 45-14-5.5 | 45 | 14 | 5.5 | 50 | ||
| 65 ZJQ/NSQ | 25-15-4 | 1450 | 25 | 15 | 4 | 65 |
| 47-34-11 | 47 | 34 | 11 | 65 | ||
| 56-27-11 | 56 | 27 | 11 | 65 | ||
| 71-25-11 | 71 | 25 | 11 | 65 | ||
| 65 ZJQ/NSQ | 10-15-5.5 | 1450 | 10 | 15 | 5.5 | 80 |
| 30-30-7.5 | 3o | 30 | 7.5 | 80 | ||
| 45-15-5.5 | 45 | 15 | 5.5 | 80 | ||
| 70-20-7.5 | 70 | 20 | 7.5 | 80 | ||
表(二)
| 產品型號 | 轉速(r/min) | 流量(m3/h) | 揚程(m) | 功率(Kw) | 口徑(mm) | |
| 80 ZJQ/NSQ | 70-35-15 | 1450 | 70 | 35 | 15 | 80 |
| 80-15-7.5 | 80 | 15 | 7.5 | 80 | ||
| 80-20-11 | 80 | 20 | 11 | 80 | ||
| 80-45-22 | 80 | 45 | 22 | 80 | ||
| 100-20-11 | 100 | 20 | 11 | 80 | ||
| 100-30-15 | 100 | 30 | 15 | 80 | ||
| 130-19-22 | 130 | 19 | 22 | 80 | ||
| 100 ZJQ/NSQ | 80-25-15 | 1450 | 80 | 25 | 15 | 100 |
| 100-12-7.5 | 100 | 12 | 7.5 | 100 | ||
| 100-20-15 | 100 | 20 | 15 | 100 | ||
| 100-30-18.5 | 100 | 30 | 18.5 | 100 | ||
| 120-18-15 | 120 | 18 | 15 | 100 | ||
| 120-35-22 | 120 | 35 | 22 | 100 | ||
| 150-25-22 | 150 | 25 | 22 | 100 | ||
| 150-38-30 | 150 | 38 | 30 | 100 | ||
| 160-80-90) | 160 | 80 | 90 | 100 | ||
| 180-22-22 | 180 | 22 | 22 | 100 | ||
| 200-35-37 | 200 | 35 | 37 | 100 | ||
| 100 ZJQ/NSQ | 120-16-15 | 1450 | 120 | 16 | 15 | 150 |
| 150-22-18.5 | 150 | 22 | 18.5 | 150 | ||
| 150-35-22 | 150 | 35 | 22 | 150 | ||
表(三)
| 產品型號 | 轉速(r/min) | 流量(m3/h) | 揚程(m) | 功率(Kw) | 口徑(mm) | |
| 150 ZJQ/NSQ | 180-25-22 | 1450 | 180 | 25 | 22 | 150 |
| 200-22-22 | 200 | 22 | 22 | 150 | ||
| 200-35-37 | 200 | 35 | 37 | 150 | ||
| 200-80-110 | 200 | 80 | 110 | 150 | ||
| 250-16-22 | 250 | 16 | 22 | 150 | ||
| 250-22-30 | 250 | 22 | 3o | 150 | ||
| 250-40-45 | 250 | 40 | 45 | 150 | ||
| 260-35-45 | 260 | 35 | 45 | 150 | ||
| 260-60-110 | 260 | 60 | 110 | 150 | ||
| 280-33-45 | 280 | 33 | 45 | 150 | ||
| 300-22-30 | 300 | 22 | 30 | 150 | ||
| 300-30-37 | 300 | 30 | 37 | 150 | ||
| 300-30-45 | 300 | 30 | 45 | 150 | ||
| 350-25-37 | 350 | 25 | 37 | 150 | ||
| 400-30-55 | 400 | 30 | 55 | 150 | ||
| 450-25-75 | 450 | 25 | 75 | 150 | ||
| 200 ZJQ/NSQ | 300-25-37 | 1450 | 300 | 25 | 37 | 200 |
| 450-25-55 | 450 | 25 | 55 | 200 | ||
| 500-35-90 | 500 | 35 | 90 | 200 | ||
七、特點
1、采用(yong)先進技術,排污泥能(neng)力強,無(wu)堵塞,能(neng)有效地(di)通過直徑qp30~p60毫米的固體顆粒。
2、撕(si)裂(lie)機構能夠把纖維(wei)狀物質(zhi)撕(si)裂(lie)、切斷,然后順利排放,無需(xu)在泵上加濾網(wang)。3、設計合(he)理(li),配(pei)套電機功(gong)率小,節能效(xiao)果(guo)顯著(zhu)。
4、采(cai)用新型材料的機械密(mi)封,可以使(shi)泵(beng)安全連續運行。
5、結(jie)構(gou)緊湊,移動方便,安裝簡(jian)單,可減少工程造價(jia),無需建造泵房(fang)。6、能夠在全揚程范圍內使用,而保證電機過載。
八、安裝系統說明
1、自動(dong)耦(ou)合裝置系統
適用于(yu)長期固定的(de)使(shi)用場合(he),具有安裝(zhuang)快捷,檢測、維修方(fang)便等優點。該(gai)系(xi)統使(shi)用特(te)(te)制的(de)底座,固定在污水(shui)坑的(de)底部(bu),與(yu)出水(shui)管(guan)連結(jie)好,在池項安裝(zhuang)好配套的(de)支承(cheng)塊(kuai),用導桿使(shi)二者相連,水(shui)泵與(yu)特(te)(te)定支架(jia)連結(jie)好,沿導桿下達到(dao)底座,與(yu)其自動(dong)耦(ou)合(he)、密封,而提升(sheng)時則自動(dong)脫(tuo)落。
2、移(yi)動式安裝系統
它(ta)以支(zhi)架支(zhi)承,接(jie)上出(chu)水軟(ruan)管(guan)即可工作,這種(zhong)方式主要(yao)應用于(yu)救急或維修施工的(de)需要(yao)。
九、泵使用方法及注意事項
1、泵(beng)使(shi)用前應(ying)仔細檢查電纜是否損壞(huai),緊固件是否松動(dong)或脫落,泵(beng)在運(yun)輸(shu)、存放、安裝過程中有無變形或損壞(huai)。
2、用(yong)500V兆歐表測量電(dian)泵電(dian)動機(ji)相(xiang)同和相(xiang)對地間(jian)絕緣電(dian)阻,其值應不低于2兆歐,否則應對電(dian)機(ji)定子繞組進行干燥處理(li),干燥處理(li)的溫度不允許(xu)超過120℃。
3、該(gai)系(xi)列泵的(de)安(an)裝有固定式(shi)和移動式(shi)兩種。當(dang)采用(yong)固定式(shi)自動安(an)裝時,應將
鏈索分別穿(chuan)進(偏離(li)泵(beng)出水口(kou)(kou),其(qi)連線(xian)應平行(xing)于泵(beng)出水口(kou)(kou))的兩個吊(diao)環螺(luo)釘或起(qi)(qi)吊(diao)板中(zhong)上下起(qi)(qi)吊(diao)電(dian)(dian)泵(beng)。均勻緩慢地沿著導軌下滑,直到自動(dong)耦(ou)合到位。當(dang)采用移動(dong)式(shi)安(an)裝時,先(xian)將(jiang)軟管套(tao)好,用鏈索穿(chuan)進兩個吊(diao)環上下起(qi)(qi)吊(diao)電(dian)(dian)泵(beng),注意切不能將(jiang)電(dian)(dian)纜當(dang)作繩索使用,以免(mian)發生危險。
4、泵(beng)接通后的旋(xuan)轉方向(xiang)從進水口看為逆時針轉動,如果(guo)電(dian)泵(beng)反轉,只(zhi)需將電(dian)纜(lan)線(xian)中的任何二(er)根線(xian)對調(diao)一下接線(xian)位(wei)置即可。
5、電泵的機殼地(di)線必須嚴(yan)格按有關規程接妥,為了保證使用時人身安全,在(zai)電泵運行時,嚴(yan)禁在(zai)附(fu)近安裝(zhuang)人下水做事或移動,以(yi)防電泵漏電而發(fa)生意(yi)外事故。
6、電泵在無(wu)特殊情況必(bi)須配備全自動水泵控制(zhi)柜,切勿直接掛電網或使用閘(zha)刀開關來接通電源,確保電泵正常運(yun)行。
7、不(bu)得(de)將電泵長(chang)期處(chu)于低揚(yang)程(cheng)狀態下(xia)運行(一般(ban)使用揚(yang)程(cheng)不(bu)得(de)低于額(e)定揚(yang)程(cheng)的(de)60%),最好能控制在建議使用揚(yang)程(cheng)范圍以內,以防電泵超載而燒壞電機。
8、無自循環(huan)冷卻裝置(zhi)的泵嚴(yan)禁整體露出水面長期運行(xing),以防電泵過熱損壞。
十、維護保養
1、電泵應有專(zhuan)人管理與使用,并(bing)定期檢查電泵繞(rao)組(zu)與機(ji)殼之間的(de)絕(jue)緣電阻是否(fou)正(zheng)常(chang)。
2、每(mei)次使用(yong)(yong)特(te)別是用(yong)(yong)于較(jiao)稠較(jiao)粘(zhan)的漿液(ye)后,應(ying)將(jiang)電(dian)泵(beng)放入清(qing)水中運(yun)轉(zhuan)數(shu)分鐘,防止泵(beng)內留下(xia)沉積物,保證電(dian)泵(beng)的清(qing)潔(jie)。
3、電(dian)泵如(ru)長(chang)時間(jian)不用時應(ying)將(jiang)電(dian)泵從水中取(qu)出,不要長(chang)期浸(jin)泡在水中,以減少(shao)電(dian)機(ji)定子(zi)繞(rao)組(zu)受潮的(de)機(ji)會,增加電(dian)泵的(de)使用壽命。
4、在(zai)常規狀(zhuang)態(tai)下泵每使用(yong)300~500小時后應加注或更換油(you)(you)室中機(ji)油(you)(you)(10~30號機(ji)油(you)(you)),使機(ji)械密封保(bao)持良好的潤滑狀(zhuang)態(tai),提(ti)高機(ji)械密封的使用(yong)壽命。
5、電(dian)泵拆(chai)卸、維修后,機(ji)殼組件必(bi)須經0.2MPa氣(qi)密試驗(yan)檢查,以確保電(dian)機(ji)密封(feng)可靠。
6、葉輪和泵體(ti)之間(jian)的密(mi)封(feng)環具(ju)有密(mi)封(feng)功能,如密(mi)封(feng)損壞將直接(jie)影響到泵的性能,必要時應更換。
常見故障及排除辦法
| 故障 | 原因 | 排除方法 |
| 流量不足或不出水 | 1.電機反轉 2.葉輪流道或管道堵塞 3.裝置揚程過高,或所選泵的揚程大大低于實際需要 4.葉輪嚴重磨損 5.液位太低,致使泵吸入空氣 6.止回閥方向裝反 |
1 .糾正電機轉向 2.清除葉輪或管道中的雜物,最好在泵周圍設置濾柵(但不可在泵入口裝過濾網) 3.設法降低裝置揚程(如換大直徑管或光滑管,減少彎頭數量,或增大彎頭的圓弧半徑)或改用較高揚程的泵。 4.更換葉輪 5.調整浮球開關位置,使最低液位符合安裝尺寸的要求。 6.糾正止回閥方向。 |
| 不能啟動 | 1.缺相 2.葉輪卡住 3.繞組接頭或電纜斷路 4.定子繞組燒壞 5.控制電器故障 6.電源電壓太低 |
1.檢查線路,排除缺相問題 2.清除雜物,最好在泵周圍設置濾柵(但不可在泵入口裝濾網) 3.用歐姆表檢查后修復 4.進行修理,更換繞組或定子 5.檢查控制柜,修理或調換電器零件 6.對癥解決電源電壓的問題 |
| 定子燒壞 | 1.在沒有保護控制電器的情況下;缺相運行或缺相狀態下啟動;葉輪卡死或脫落;介質濃度過大;冷卻系統於塞 2.密封損壞電機進水 3.緊固件松動造成電機進水 4.電機長時間露出水面運行 |
修理好電機后,使用前必須: 1.配置保護控制電器并:查清線路,清除缺相故障;清除臟物,擰緊葉輪緊固螺釘及不銹鋼彈簧墊圈;用水稀釋介質;沖洗疏通冷卻系統 2.更換機械密封或“O”形密封圈 3.擰緊各部緊固件 4.保證最低液位不低于安裝尺寸圖的規定 |
| 電流過大 | 1.抽送液體的密度或粘度較高 2.所選泵的揚程大天超出實際雷要,或使用條件改變.裝置揚程大幅度降低,使得泵超過推薦流量運行 3.軸承損壞 4.葉輪和泵體之間(如口環處)夾有雜物 5.電源電壓過低 |
1.改變抽送液體的密度或粘度 2.關小出口閥,減小流量,或車小葉輪,或更換較低揚程的泵 3.更換軸承 4.清除雜物 5.對癥解決電源電壓的問題 |
| 振動、噪聲大 | 1.所選泵的揚程大大超出實際需要,或使用條件改變.裝置揚程大幅度降低,使得泵超過推薦流量運行 2.液位太低,致使泵吸入空氣 3.管路設置不當,如緊貼泵出口裝閥并關小閥門.緊貼泵出口裝彎管.緊貼泵出口的吐出管路的管徑突然縮小.安裝的泵的吸入路管徑小于吸入彎管入口口徑 4.軸承缺油脂或損壞 5.葉輪和泵體之間卡上了雜物(伴隨有電流增大) |
1.關小出口閥,減少流量,或車小葉輪,或更換較低揚程的泵 2.調整浮球開關位置,使最低液位符合安裝尺寸圖的要求 3.查出管路設置的具體問題對癥解決 4.給軸承加油脂或更換軸承 5.排除雜物 |